Aktywny dalmierz laserowy UNI-T LM1000 - do pomiaru odległości, wysokości, kąta i prędkości w zakresie 0-915m (1000yd) / 0-300km/h.
Dalmierze są używane
do szybkiego i dokładnego bezkontaktowego pomiaru odległości obiektów i budynków w budownictwie, inspekcji, geodezji, sporcie, myślistwie, fotografii lub nawigacji. Dalmierze laserowe są wielokrotnie dokładniejsze od dalmierzy ultradźwiękowych, zwłaszcza przy pomiarach większych odległości.

Model LM1000 posiada nie tylko funkcję
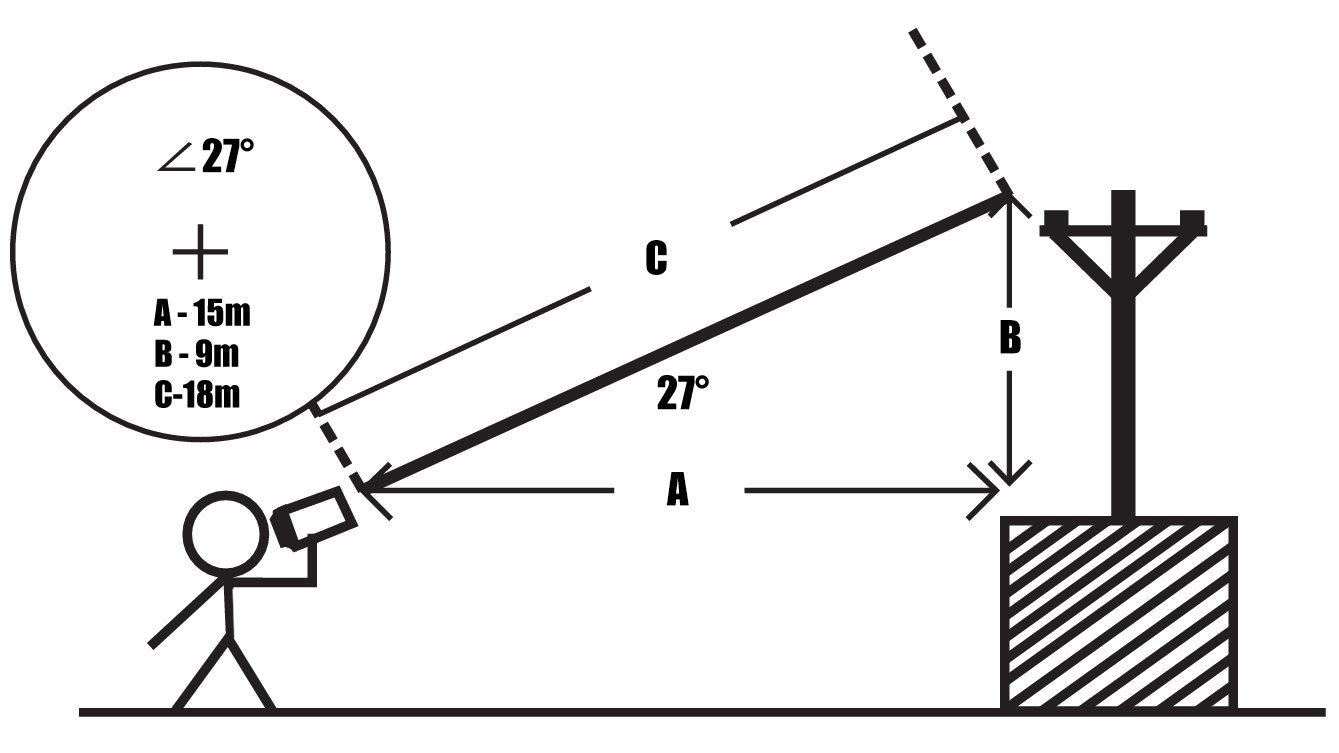
pomiaru odległości w zakresie 0-915 m z rozdzielczością 1 m i dokładnością +-0,5 m, ale dzięki wbudowanemu pomiarowi kąta
może również obliczyć wysokość docelowego budynku lub obiektu od podłoża. Dalmierz może obliczyć wszystkie trzy boki trójkąta A,B,C za pomocą pomiaru kąta, patrz rysunek. Oprócz pomiarów odległości, kąta i wysokości, dalmierz może również mierzyć
prędkość poruszającego się (oddalającego się lub zbliżającego się do dalmierza) obiektu, takiego jak samochód, w zakresie 0-300 km/h z dokładnością do 0,2%, dzięki funkcji lasera impulsowego. Laser pulsacyjny ma niską moc, jest niewidoczny i nie stanowi zagrożenia dla ludzkiego oka.
Lekki, kompaktowy dalmierz LM1000 w kolorze czerwonym i czarnym z gumowaną powierzchnią posiada
okular podglądu
z 7-krotnym powiększeniem optycznym do szybkiego i dokładnego celowania w obiekt, podczas podglądu przez okular użytkownik może zobaczyć wszystkie niezbędne dane, takie jak kąt, odległość, prędkość lub wskazanie baterii. Na górze znajdują się dwa przyciski, jeden do przełączania funkcji pomiaru odległości / prędkości, a drugi przycisk do uruchamiania samego pomiaru. Po naciśnięciu przycisku pomiaru
wynik pomiaru jest wyświetlany niemal natychmiast , z minimalnym opóźnieniem wynoszącym kilka ms. Pomiar prędkości odbywa się w sposób ciągły poprzez przytrzymanie przycisku i skierowanie centralnego krzyża w okularze dalmierza na poruszający się obiekt.
Urządzenie posiada również funkcję automatycznego wyłączania i jest wyposażone w gwint statywowy 1/4" do montażu na statywie oraz przednią osłonę chroniącą układ optyczny. Dzięki wbudowanemu akumulatorowi litowo-jonowemu 1500 mA
dalmierz może wykonać do 8000 pomiarów na jednym ładowaniu, ładowanie odbywa się za pomocą złącza micro-USB, a stan naładowania jest wskazywany przez zieloną i czerwoną diodę LED pod okularem.
Dalmierz laserowy jest dostarczany z zamykanym futerałem, pętlą na nadgarstek
i kablem ładującym USB - micro USB.
Zawartość opakowania: dalmierz, kabel ładujący, pętla na nadgarstek, futerał.
Parametry
| Model |
LM1000 |
| Cechy |
pomiar odległości, wysokości, prędkości |
| Zakres pomiaru odległości + dokładność |
0-915m - +-0.5m |
| Zakres pomiaru wysokości + dokładność |
0-412m +-0,5m |
| Zakres pomiaru kąta + dokładność |
0-60° +-1° |
| Zakres pomiaru prędkości + dokładność |
0-300km/h +-0.2% |
| Powiększenie okularu |
7x |
| Zasilanie |
li-Ion 1500mAh |
| Gwint statywu |
tak 1/4" |
| Wymiary |
76x46x116mm HxWxD |
| Waga |
225g |
| Waga opakowania [kg]: | 0.49 kg |
Więcej parametrów